螺杆泵是一种往复式容积泵,其型号十分之多。螺杆泵还是现代工业发展中非常重要的设备之一,常被用于油井开采和化工运输等诸多领域。而为了帮助用户能够更好的认识到螺杆泵,上海沈泉螺杆泵厂家就来为大家简单的讲解下螺杆泵的结构特点及工作原理。

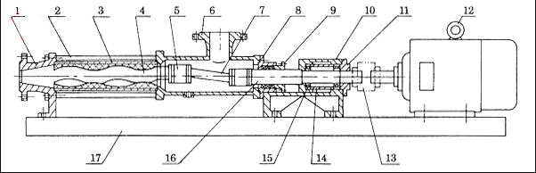
G型单螺杆泵结构图
与叶片泵相比较,螺旋泵具有以下优点:
1、压力和流量范围宽阔。压力约在3.4-340千克力/cm2,流量可达100cm3/分。
2、运送液体的种类和粘度范围宽广。
3、因为泵内的回转部件惯性力较低,故可使用很高的转速。
螺旋泵的装置包括原动机、变速传动装置和螺旋泵三部分,具体是由螺旋叶片、泵轴、轴承座和外壳组成的。螺旋泵倾斜装在上、下水池之间,螺旋泵的下端叶片浸入到水面以下。
当泵轴旋转时,螺旋叶片将水池中的水推入叶槽,水在螺旋的旋转叶片作用下,沿螺旋轴一级一级往上提升,直至螺旋泵的出水口。螺旋泵只改变流体的位能,它不同于叶片式水泵将机械能转换为输送液体的位能和动能。
快盈VIII本文参考资料来源:
获取报价(留言后专人第一时间快速对接)
已为 2000+ 企业服务我们的优势